找回密码
 立即注册
澳门威尼斯人
U8
U18
海燕招商
A
蓝盾
e世博
islot.
申博亚洲
澳门银河
B
腾博会
德信
C级广告商
吉祥坊
查看: 184178|回复: 60

[彩票] 【实战有奖】今天在HHgame娱乐城亏损11块大洋

[复制链接]

3192

主题

5万

回帖

1960

金币

钻石用户

积分
134161

万时之王老会员精华勋章美女勋章勤奋勋章交易勋章

发表于 2025-2-12 20:54 | 显示全部楼层 |阅读模式

马上注册,结交更多好友,享用更多功能,让你轻松玩转社区。

您需要 登录 才可以下载或查看,没有账号?立即注册

×
一晃一个年就这样过完了,今天是元宵节,不知道大家的元宵节是如何度过的呢?有什么风俗吗?我这里举行赏花灯,吃汤圆,还有猜灯谜活动。猜中2个灯谜就送一条厚毛巾。猜中4个灯谜就送别的礼物,凡是对2个就有礼物送。大人孩子一起抢着猜,有的家长还拿着谜语去百度,百度不出来就又放回去。哈哈,厉害的家长太多了,兑换了一堆礼物回家,满满的幸福!我去的时候有点晚了,没有多少张谜语,剩下的都是非常难猜的,我猜对一个,还差一个无法兑换礼物,工作人员看我实在猜不出二个,第二个谜语直接告诉我答案了,哈哈,他说不能让我空手回家呀。
; m1 |4 P& X8 c! P! ]* m3 ?3 d) t! \  e
2 K, G) G' J0 M- ?8 }

7 D* D( m, |6 y7 D$ r. K; B                               
登录/注册后可看大图

- i# ~8 F5 R; W, T
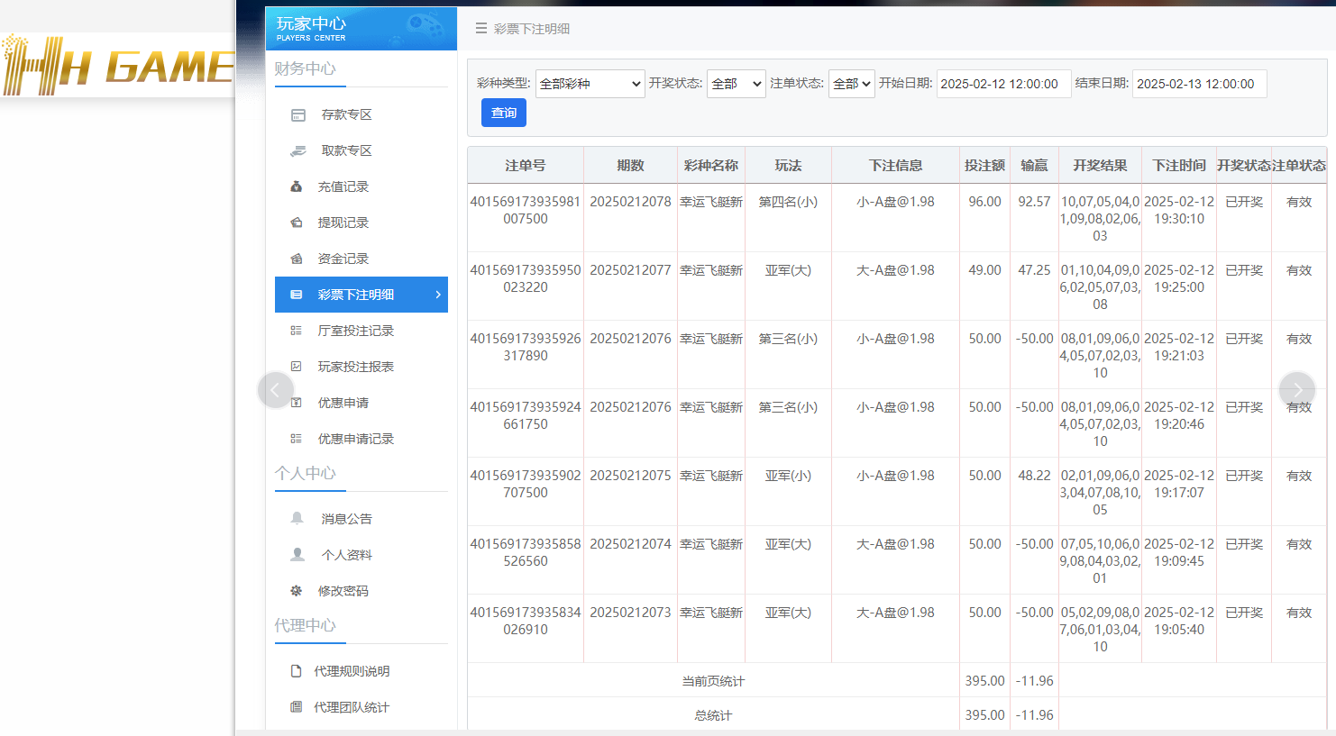
$ {" ^3 l8 h. Q+ Z- d今天猜完谜语回来有点晚了,不过还是去HHgame公司存了200块小玩一下,今天是元宵节,也来完成一下任务先了。
; K$ Z- g  b* I, I先来观察一下路子了,第一把比较看好亚军位置上出大球,前面已出小小小大大小大大?大球出的机会多,还是& t3 S# o# j+ n$ J1 T+ H5 h
继续跟一手大球好了,结果这一期开出来了数字02,是小球,第一把就拿下了开门黑了,有点扎心啊。
9 L% Z. w( }2 ~5 u  V# `' w7 B  |
! s  j8 V- m& r8 }7 q3 ~1 d& P接着比较看好亚军位置上出大球,前面已出小小小大大小大大小?我感觉是双跳的路子,要往大数开出来了,决定反买一手大球,
) t6 p5 a2 h) @1 ]! \结果开出来数字05,还是小球,又错了一把,真是扎心了啊,亚军的小球连续出两期了,那我继续追小球算了,也许是出9 B; Z8 O' j) P- L2 g2 z
龙了呢,决定追一把亚军位置上的小球,结果开出来数字01,是小球,我的判断终于是对了,美滋滋啊。
2 `' l( Y) Q1 r$ i, {
4 Y* o+ E9 B" L) Q2 X8 Y' f! t接下来比较看好第三名位置上出小球,前面已出小小小大小大大大?感觉要反弹小球了,决定博一把小球试试了,结果网络卡了,一下子下了2把
7 b: |+ V( D" ]/ ~; z小球,结果开出来数字09,是大球,真的是太悲剧了啊。欲哭无泪了。
3 k( b( }8 Y) N7 E. J: q! B. b' w4 [( `* G. I: b  R5 O
接下来比较看好第四名位置上出小球,前面已出大小大大大大大?我觉得要反弹小球了,决定博一手小球吧,结果这一期开出来数字04,果然反弹小球了,我的单子也是顺利搞定了。终于把前面输的赢回来了,太开心了,只是亏损11块大洋了,也是无所谓的呢。
5 M4 P' d( k/ C" |6 Q& _. |0 k  H: x5 q: H
" c3 K) ^8 B6 w9 r$ v) t; b! V

' O3 A* F4 ]2 M- a6 u2 l" T: t                               
登录/注册后可看大图

! ~8 b2 B3 Q& m& `/ E0 U7 @5 a% l( k" `# Y) d3 B
HH投注.png   M- ~; X, i5 H* U/ T' ^

: ]  F* O1 F" c- r3 R) M HH娱乐城.png + b+ m% S$ d1 K) B! V$ X

6 O& T' g6 W0 I& D
) @3 }* E+ B: r% x. v( }- f+ V# W
回复

使用道具 举报

480

主题

3万

回帖

4665

金币

铂金用户

积分
84327

老会员美女勋章勤奋勋章交易勋章

发表于 2025-2-12 20:59 | 显示全部楼层
输的不多还是没什么的,很快就可以赢回来的没关系了
回复 支持 反对

使用道具 举报

48

主题

6902

回帖

2168

金币

金牌会员

积分
24225

老会员光影行者

发表于 2025-2-12 21:01 | 显示全部楼层
楼主今天的运气是非常一般的,但是存款不多,只有11大洋的亏损也是没事的
回复 支持 反对

使用道具 举报

2663

主题

5万

回帖

2607

金币

钻石用户

积分
171013

万时之王老会员精华勋章勤奋勋章交易勋章

发表于 2025-2-12 22:44 来自手机 | 显示全部楼层
楼主今天玩彩票运气一般,小亏了十块钱,亏损不多,下次赢回来
回复 支持 反对

使用道具 举报

2663

主题

5万

回帖

2607

金币

钻石用户

积分
171013

万时之王老会员精华勋章勤奋勋章交易勋章

发表于 2025-2-12 22:48 来自手机 | 显示全部楼层
初秋2323a 发表于 2025-2-12 20:59
. k8 N2 q8 F( O1 ?0 P2 ^输的不多还是没什么的,很快就可以赢回来的没关系了

# ?1 Q4 i& S1 J: o" v只是亏损了11块钱,亏损不大,没有太大影响,希望下次多收米了
回复 支持 反对

使用道具 举报

2663

主题

5万

回帖

2607

金币

钻石用户

积分
171013

万时之王老会员精华勋章勤奋勋章交易勋章

发表于 2025-2-12 22:49 来自手机 | 显示全部楼层
决战夕阳 发表于 2025-2-12 21:01
6 ^/ r; O, }- _$ S+ N楼主今天的运气是非常一般的,但是存款不多,只有11大洋的亏损也是没事的 ...
" p2 y" b4 U/ N% |% N3 T& \" X
总是会有输有赢的,这次输钱不太多,明天有机会再赢回来的,加油
回复 支持 反对

使用道具 举报

864

主题

2万

回帖

1万

金币

铂金用户

积分
91232

老会员精华勋章魅力达人

发表于 2025-2-13 03:05 来自手机 | 显示全部楼层
楼主这个元宵节过的还是很充实的,即出去感受到了节日的气氛,回来又不耽误实战贴任务真好。
回复 支持 反对

使用道具 举报

864

主题

2万

回帖

1万

金币

铂金用户

积分
91232

老会员精华勋章魅力达人

发表于 2025-2-13 03:10 来自手机 | 显示全部楼层
浴火凤凰 发表于 2025-2-12 22:480 @# a" z1 p# d' P' C& ]
只是亏损了11块钱,亏损不大,没有太大影响,希望下次多收米了

. M7 S, O) I7 W8 a* ~确实是输的不多,才输11块钱这是可以接受的范围,下次游戏能赢回来的。
回复 支持 反对

使用道具 举报

864

主题

2万

回帖

1万

金币

铂金用户

积分
91232

老会员精华勋章魅力达人

发表于 2025-2-13 03:13 来自手机 | 显示全部楼层
决战夕阳 发表于 2025-2-12 21:01/ s$ c* t1 ?$ ^' w* W, x- ?2 o
楼主今天的运气是非常一般的,但是存款不多,只有11大洋的亏损也是没事的 ...
3 ?+ s+ l2 B/ _
确实输的也不算多的了,菠菜游戏这点亏损也是很正常的范围。
回复 支持 反对

使用道具 举报

2556

主题

8万

回帖

3598

金币

海燕硕士

积分
228571

老会员超级精华精华勋章美女勋章勤奋勋章交易勋章万时之王

发表于 2025-2-13 07:16 | 显示全部楼层
最后导致亏损也是比较难受的玩游戏的心情也是不太美丽
回复 支持 反对

使用道具 举报

2556

主题

8万

回帖

3598

金币

海燕硕士

积分
228571

老会员超级精华精华勋章美女勋章勤奋勋章交易勋章万时之王

发表于 2025-2-13 07:16 | 显示全部楼层
linx1978 发表于 2025-2-13 03:13
9 `1 _9 c% A" c0 D$ d% P确实输的也不算多的了,菠菜游戏这点亏损也是很正常的范围。

9 U9 z' R- e7 Q  Z亏损虽然不多也是钱啊,比起输钱来说这个输钱也是钱
回复 支持 反对

使用道具 举报

2556

主题

8万

回帖

3598

金币

海燕硕士

积分
228571

老会员超级精华精华勋章美女勋章勤奋勋章交易勋章万时之王

发表于 2025-2-13 07:16 | 显示全部楼层
linx1978 发表于 2025-2-13 03:05
6 s" c; `' ?/ m( v楼主这个元宵节过的还是很充实的,即出去感受到了节日的气氛,回来又不耽误实战贴任务真好。 ...
6 h* P3 U% O" x8 g
过去比较充实也是可以的,楼注的生活也是比较丰富的
回复 支持 反对

使用道具 举报

2556

主题

8万

回帖

3598

金币

海燕硕士

积分
228571

老会员超级精华精华勋章美女勋章勤奋勋章交易勋章万时之王

发表于 2025-2-13 07:17 | 显示全部楼层
浴火凤凰 发表于 2025-2-12 22:49
! |4 d0 D5 Q" [5 J总是会有输有赢的,这次输钱不太多,明天有机会再赢回来的,加油

  Q* z5 B; a, D" f3 L3 J. t4 h输的不多也是因为自己玩的好啊,这样的情况下也是可以接受的情况
回复 支持 反对

使用道具 举报

2556

主题

8万

回帖

3598

金币

海燕硕士

积分
228571

老会员超级精华精华勋章美女勋章勤奋勋章交易勋章万时之王

发表于 2025-2-13 07:17 | 显示全部楼层
浴火凤凰 发表于 2025-2-12 22:444 H) ]+ W! |3 z" z
楼主今天玩彩票运气一般,小亏了十块钱,亏损不多,下次赢回来

' e7 Z# k- P5 n" t7 O: m彩票这个游戏也是比较难玩的,我们也可以继续理解这样的一个心情
回复 支持 反对

使用道具 举报

2556

主题

8万

回帖

3598

金币

海燕硕士

积分
228571

老会员超级精华精华勋章美女勋章勤奋勋章交易勋章万时之王

发表于 2025-2-13 07:18 | 显示全部楼层
初秋2323a 发表于 2025-2-12 20:59
; l. W; j  g- I8 ^" n' \输的不多还是没什么的,很快就可以赢回来的没关系了
# z) _' g' M+ D- P. u- F+ G
想要赚回来还是比较困难的,也不是天天可以赚到这样的钱来的
回复 支持 反对

使用道具 举报

您需要登录后才可以回帖 登录 | 立即注册

本版积分规则

广告合作|福利汇|论坛简介|钱包教程|手机版|小黑屋|Archiver|海燕论坛

快速回复 返回顶部 返回列表