找回密码
 立即注册
澳门威尼斯人
U8
U18
海燕招商
A
蓝盾
e世博
islot.
申博亚洲
澳门银河
B
腾博会
德信
C级广告商
吉祥坊
查看: 148634|回复: 48

[彩票] 【实战有奖】今天在申博7V公司玩彩票输了21

[复制链接]

1214

主题

3万

回帖

968

金币

铂金用户

积分
94725

老会员交易勋章光影行者

发表于 2025-3-10 21:43 | 显示全部楼层 |阅读模式

马上注册,结交更多好友,享用更多功能,让你轻松玩转社区。

您需要 登录 才可以下载或查看,没有账号?立即注册

×
     今天晚上去了申博7V公司玩了彩票。选了澳洲幸运10了啊。结果呢,运气不佳,还是输的了。也是有点遗憾了。
9 |: ]2 l0 F. t9 D8 q
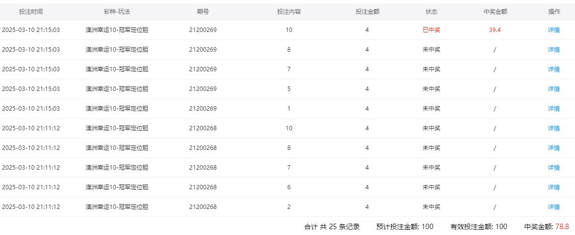
. W; O! n5 l) z# {, T1 {     今天一进去就选择了这个游戏,今天打冠军5码了啊。第一期下注了1.2.3.7.8等五个数字,每个4元,共计20元。结果出了7,运气不错,还是让我赢的了。这就是上期的前5名了。运气海不错。
1 E2 E7 s# m. w 11.JPG
+ I9 d! U) \+ b& y2 p) U' c
6 Y0 m$ D5 {* l& M# I8 V     第2期,我继续了。下注了1.2.4.7.9等五个数字,结果出了3.就没有中了。然后继续了。下注了1.2.3.6.8等5个数字,结果出了9,还是没有中。我心想,竟然连续2期都没中。那么还是要反打了啊。于是我就反打后5个数字,下注了2.6.7.8.10等5码,结果出了4.嗯,又是不中。这样,我就一连3期都是不中的啊。一下子就输了好几十啊。也是很悲剧了啊。
/ N6 W2 c' g2 G) M     看看流水,还要1期。我想到底该怎么打呢,是要正的还是反着呢,正的错了2期就反,没有想到还反错了。那么现在要正的回来吗?万一又错了呢,我纠结了一会儿。想着还是不要再变吧。变来变去就更麻烦,更容易出错。于是我就按第4期的打法下注了。下了后5个数字。1.5.7.8.10这么5个。结果不错,出了10,我中了。也算是打回一点损失了。5 }% U7 d9 t. b3 G) H
22.JPG ' J6 P7 _6 I2 e6 E
. M. S  r5 K# J. c4 o* q' w
     看看流水也够了。昨天其实也挣了不少。今天输一点回去,也无妨。所以就收工了。, I! c0 u3 q' [% o, e
回复

使用道具 举报

102

主题

6390

回帖

2606

金币

金牌会员

积分
20822

老会员

发表于 2025-3-10 22:08 | 显示全部楼层
楼主这次的成绩不佳,需要再调整休息一下回血了
回复 支持 反对

使用道具 举报

2661

主题

5万

回帖

2569

金币

钻石用户

积分
170898

万时之王老会员精华勋章勤奋勋章交易勋章

发表于 2025-3-11 02:47 来自手机 | 显示全部楼层
楼主今天运气不太好,玩彩票小输了二十块钱,不太多下次赢回来
回复 支持 反对

使用道具 举报

2661

主题

5万

回帖

2569

金币

钻石用户

积分
170898

万时之王老会员精华勋章勤奋勋章交易勋章

发表于 2025-3-11 02:50 来自手机 | 显示全部楼层
易天一人 发表于 2025-3-10 22:087 M/ x6 l' h* n& ?4 \- b& f& o
楼主这次的成绩不佳,需要再调整休息一下回血了

( e6 m7 x. ?' n: v/ c输了20块钱,运气稍微差了点,但亏损几十不是太多,下次赢回来就好
回复 支持 反对

使用道具 举报

63

主题

4万

回帖

2390

金币

钻石用户

积分
127518

万时之王老会员勤奋勋章交易勋章光影行者

发表于 2025-3-11 06:09 | 显示全部楼层
可惜了, 输了,也是不好搞了,郁闷的结果哦了,这个结果也是没有办法的
回复 支持 反对

使用道具 举报

63

主题

4万

回帖

2390

金币

钻石用户

积分
127518

万时之王老会员勤奋勋章交易勋章光影行者

发表于 2025-3-11 06:09 | 显示全部楼层
浴火凤凰 发表于 2025-3-11 02:50, o$ g' f; M  a
输了20块钱,运气稍微差了点,但亏损几十不是太多,下次赢回来就好

% |( c, E& \  J) C# a, y1 z所以了,运气不够给力,真的是比较难办,现实还是比较残酷了,不好搞的
回复 支持 反对

使用道具 举报

63

主题

4万

回帖

2390

金币

钻石用户

积分
127518

万时之王老会员勤奋勋章交易勋章光影行者

发表于 2025-3-11 06:10 | 显示全部楼层
易天一人 发表于 2025-3-10 22:08
. W* P, D- f: K1 d& @$ i楼主这次的成绩不佳,需要再调整休息一下回血了
1 ]( h) f3 `7 n
BC是一定要有个好运气,这样子才有可能会有盈利的啦, 加油吧!
回复 支持 反对

使用道具 举报

2552

主题

8万

回帖

3440

金币

海燕硕士

积分
228138

老会员超级精华精华勋章美女勋章勤奋勋章交易勋章万时之王

发表于 2025-3-11 07:37 | 显示全部楼层
这次输了一点小钱也是难受的流水打够了还是要赶紧的离开比较好的
回复 支持 反对

使用道具 举报

2552

主题

8万

回帖

3440

金币

海燕硕士

积分
228138

老会员超级精华精华勋章美女勋章勤奋勋章交易勋章万时之王

发表于 2025-3-11 07:37 | 显示全部楼层
奔四 发表于 2025-3-11 06:10, c: `# u) e* {% Y2 u, Q2 ?- {
BC是一定要有个好运气,这样子才有可能会有盈利的啦, 加油吧!

* ?+ D! d: \1 ^8 l% X4 @7 i- z6 C为了一个好的运气,我们也是要加油,输了一点钱,暂时还是不要玩为好
回复 支持 反对

使用道具 举报

2552

主题

8万

回帖

3440

金币

海燕硕士

积分
228138

老会员超级精华精华勋章美女勋章勤奋勋章交易勋章万时之王

发表于 2025-3-11 07:37 | 显示全部楼层
浴火凤凰 发表于 2025-3-11 02:47
8 a2 ?  s2 Q( ^. Q7 [* v& @楼主今天运气不太好,玩彩票小输了二十块钱,不太多下次赢回来

$ o) [1 Z3 z5 L7 n  `: W. k' g& H彩票输钱也是正常的事,好在这次输的不多,也是他控制的比较好吧
回复 支持 反对

使用道具 举报

2552

主题

8万

回帖

3440

金币

海燕硕士

积分
228138

老会员超级精华精华勋章美女勋章勤奋勋章交易勋章万时之王

发表于 2025-3-11 07:37 | 显示全部楼层
易天一人 发表于 2025-3-10 22:08& ~( _0 P$ q5 H$ L+ i( H% T, x
楼主这次的成绩不佳,需要再调整休息一下回血了

( o3 C. ?3 g! ^, @8 k成绩不好也是需要回血的,不然的话下次再出来那么多的钱来输
回复 支持 反对

使用道具 举报

1053

主题

2万

回帖

8569

金币

铂金用户

积分
74633

老会员交易勋章光影行者

发表于 2025-3-11 08:53 | 显示全部楼层
小的亏损还是可以接受的,调整好一把就赚回来了
回复 支持 反对

使用道具 举报

1053

主题

2万

回帖

8569

金币

铂金用户

积分
74633

老会员交易勋章光影行者

发表于 2025-3-11 08:53 | 显示全部楼层
杨雪儿 发表于 2025-3-11 07:377 v( W) R! a  a" {; d0 U
这次输了一点小钱也是难受的流水打够了还是要赶紧的离开比较好的
- N* e" O' }- \1 @
是的,打够了流水输了一点小钱的结果还是可以接受的了
回复 支持 反对

使用道具 举报

3942

主题

8万

回帖

8398

金币

海燕硕士

积分
243554

万时之王老会员精华勋章勤奋勋章

发表于 2025-3-11 09:06 | 显示全部楼层
真的是没想到最终的感觉还是特别的不开心呢长期像这样亏损也挺难过
回复 支持 反对

使用道具 举报

3942

主题

8万

回帖

8398

金币

海燕硕士

积分
243554

万时之王老会员精华勋章勤奋勋章

发表于 2025-3-11 09:06 | 显示全部楼层
飞舞倾城 发表于 2025-3-11 08:532 T& Q2 _; k) \$ `
是的,打够了流水输了一点小钱的结果还是可以接受的了

7 s* S& P8 _# Y* p5 Q输掉了一点点确实是挺难受的,反正还是希望自己可以接受吧
回复 支持 反对

使用道具 举报

您需要登录后才可以回帖 登录 | 立即注册

本版积分规则

广告合作|福利汇|论坛简介|钱包教程|手机版|小黑屋|Archiver|海燕论坛

快速回复 返回顶部 返回列表