找回密码
 立即注册
澳门威尼斯人
U8
U18
海燕招商
A
蓝盾
e世博
islot.
申博亚洲
澳门银河
B
腾博会
德信
C级广告商
吉祥坊
查看: 35258|回复: 14

[足球推荐] 2025年5月27日18:30 韩K联 大邱FCVS全北现代

 火.. [复制链接]

229

主题

3470

回帖

465

金币

银牌会员

积分
10770

老会员交易勋章

发表于 2025-5-27 17:46 | 显示全部楼层 |阅读模式

马上注册,结交更多好友,享用更多功能,让你轻松玩转社区。

您需要 登录 才可以下载或查看,没有账号?立即注册

×
推荐:小2.5
北京时间20255271830将迎来韩K联第17轮的一场比赛,大邱FC主场迎战全北现代, 大邱FC本赛季还是比较拉跨,目前排名联赛倒数第1 ,全北现代还是保持着不错的发挥,目前仅落后第12分排名联赛第2
2-1.png
积分分析
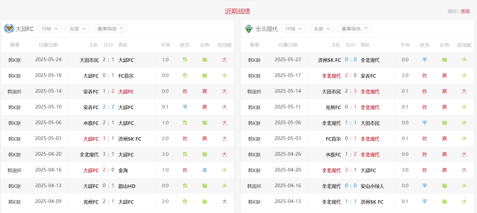
本赛季韩K的比赛,两队都是少进行了一场大邱FC取得了3210负的战绩,目前也是只拿到了11的积分,排名联赛倒数第1。客队全北现代目前取得了852负的战绩,当前也是拿到了29的积分,落后大田市民2分,排名联赛第2
2-2.png
战绩分析:
两队历史上交手记录上,大邱FC面对全北现代取得了415负的战绩基本上是平分秋色。近十场比赛大邱FC取得了316负的战绩,状态实在是很拉跨。全北现代近十场比赛取得了640负的不败战绩还是展示出来不俗的状态,实力也是远超大邱FC
2-3.png 2-4.png
盘口分析:
从战绩上看两队目前的差距还是很大的,近期战绩也是一个天一个地,本场比赛给出了全北现代客场让0.75,不过大小给到了2.5,大邱FC进球概率不大,但不会输的太惨,看好小球打出。
推荐:小2.5
, Y3 m. w# m' N) [' R
fakename.png

' l  W1 [! v  v3 h! W% f( m5 u
回复

使用道具 举报

46

主题

1万

回帖

1372

金币

金牌会员

积分
24942

老会员

发表于 2025-5-27 18:30 | 显示全部楼层
这个比赛看起来,还是很不错的,希望这一场的小球是能够拿下来的。
回复 支持 反对

使用道具 举报

480

主题

3万

回帖

4665

金币

铂金用户

积分
84327

老会员美女勋章勤奋勋章交易勋章

发表于 2025-5-27 18:31 | 显示全部楼层
这场的小球比较不错,韩K联的大球也不是很多的
回复 支持 反对

使用道具 举报

844

主题

3462

回帖

1769

金币

版主

积分
14350

老会员版主勋章

发表于 2025-5-27 18:47 | 显示全部楼层
17分钟就进了,这个小球盘有点危险了
回复 支持 反对

使用道具 举报

3739

主题

7万

回帖

6562

金币

海燕硕士

积分
227794

万时之王老会员勤奋勋章交易勋章

发表于 2025-5-28 05:38 | 显示全部楼层
0-4打出来一个大球盘口了,楼主的推荐小球输掉太可惜了啊
回复 支持 反对

使用道具 举报

3739

主题

7万

回帖

6562

金币

海燕硕士

积分
227794

万时之王老会员勤奋勋章交易勋章

发表于 2025-5-28 05:39 | 显示全部楼层
海燕体育 发表于 2025-5-27 18:47! v) n8 _: T: @1 K
17分钟就进了,这个小球盘有点危险了
0 I/ |0 {" s4 s
这一场比赛全场进了4个球了,妥妥的大球路子了,下次再玩吧
回复 支持 反对

使用道具 举报

36

主题

1万

回帖

3789

金币

千足金牌会员

积分
50064

老会员美女勋章光影行者

发表于 2025-5-28 06:57 | 显示全部楼层
最后是0:4的结果了,进球数4个,是大球了
回复 支持 反对

使用道具 举报

36

主题

1万

回帖

3789

金币

千足金牌会员

积分
50064

老会员美女勋章光影行者

发表于 2025-5-28 06:57 | 显示全部楼层
dollar 发表于 2025-5-28 05:391 T* }5 `$ L! j* D. r( T: x
这一场比赛全场进了4个球了,妥妥的大球路子了,下次再玩吧
% v- r. v) d( j* P
是啊,这场最后进球不少,出的是大球,希望下次预测正确
回复 支持 反对

使用道具 举报

1410

主题

5万

回帖

2163

金币

钻石用户

积分
142705

万时之王老会员勤奋勋章交易勋章

发表于 2025-5-28 08:38 | 显示全部楼层
大邱0-4全北现代楼主的小球推荐也是稳稳输盘了 安慰一下楼主的啊
回复 支持 反对

使用道具 举报

1410

主题

5万

回帖

2163

金币

钻石用户

积分
142705

万时之王老会员勤奋勋章交易勋章

发表于 2025-5-28 08:38 | 显示全部楼层
十里变百里 发表于 2025-5-27 18:30- J; u5 E( ~4 S0 _) x, c; ~% E( u
这个比赛看起来,还是很不错的,希望这一场的小球是能够拿下来的。

: [4 d3 |  X; G7 L: X( `! {" l8 M; y0 b两只球队的进球能力不错的 楼主去小球也是非常的危险啊
回复 支持 反对

使用道具 举报

1410

主题

5万

回帖

2163

金币

钻石用户

积分
142705

万时之王老会员勤奋勋章交易勋章

发表于 2025-5-28 08:39 | 显示全部楼层
初秋2323a 发表于 2025-5-27 18:31
: N) g- e" ?' R5 {/ e这场的小球比较不错,韩K联的大球也不是很多的
) ]! U/ G2 d' i1 ^, E1 C
韩K联的大球也是不少的 希望楼主以后可以多玩一下大球啊
回复 支持 反对

使用道具 举报

1410

主题

5万

回帖

2163

金币

钻石用户

积分
142705

万时之王老会员勤奋勋章交易勋章

发表于 2025-5-28 08:39 | 显示全部楼层
云水谣 发表于 2025-5-28 06:57
' ~4 S( A# Q3 Q9 k最后是0:4的结果了,进球数4个,是大球了
; G  N3 g" c. P8 S
楼主也不是神仙的 偶尔黑一场也是不可避免的一个事情
回复 支持 反对

使用道具 举报

2667

主题

5万

回帖

3056

金币

钻石用户

积分
172082

万时之王老会员精华勋章勤奋勋章交易勋章

发表于 2025-5-29 02:35 来自手机 | 显示全部楼层
dollar 发表于 2025-5-28 05:38
) s/ Z; D0 Q6 Z8 a5 H' S0-4打出来一个大球盘口了,楼主的推荐小球输掉太可惜了啊

- g2 [! Q; m; A$ l+ G! k- O这场球比赛结果0:4,全场进了4个球,楼主推荐小2.5球输了,运气不好
回复 支持 反对

使用道具 举报

2667

主题

5万

回帖

3056

金币

钻石用户

积分
172082

万时之王老会员精华勋章勤奋勋章交易勋章

发表于 2025-5-29 02:36 来自手机 | 显示全部楼层
allin 发表于 2025-5-28 08:39
8 m6 W/ P# Y& Y4 N9 ?5 }8 Y7 T- M9 z楼主也不是神仙的 偶尔黑一场也是不可避免的一个事情
: Q: `9 G4 Y8 m5 t/ T* [2 A
球赛有输有赢,楼主这次推荐没有成功也是正常的,希望下次能够顺利收米
回复 支持 反对

使用道具 举报

2667

主题

5万

回帖

3056

金币

钻石用户

积分
172082

万时之王老会员精华勋章勤奋勋章交易勋章

发表于 2025-5-29 02:36 来自手机 | 显示全部楼层
云水谣 发表于 2025-5-28 06:57
1 z' t- Z9 m. e/ f; D是啊,这场最后进球不少,出的是大球,希望下次预测正确
$ n! G# R0 Y* L1 O+ A
这场球楼主推荐小2.5球的盘口,最后全场4个进球,大球的结果
回复 支持 反对

使用道具 举报

您需要登录后才可以回帖 登录 | 立即注册

本版积分规则

广告合作|福利汇|论坛简介|钱包教程|手机版|小黑屋|Archiver|海燕论坛

快速回复 返回顶部 返回列表