找回密码
 立即注册
澳门威尼斯人
U8
U18
海燕招商
A
蓝盾
e世博
islot.
申博亚洲
澳门银河
B
腾博会
德信
C级广告商
吉祥坊
查看: 14112|回复: 56

[彩票] 【实战有奖】今天晚上到腾博会玩彩票侥幸只输了水钱

[复制链接]

1214

主题

3万

回帖

968

金币

铂金用户

积分
94725

老会员交易勋章光影行者

发表于 2025-12-23 20:58 | 显示全部楼层 |阅读模式

马上注册,结交更多好友,享用更多功能,让你轻松玩转社区。

您需要 登录 才可以下载或查看,没有账号?立即注册

×
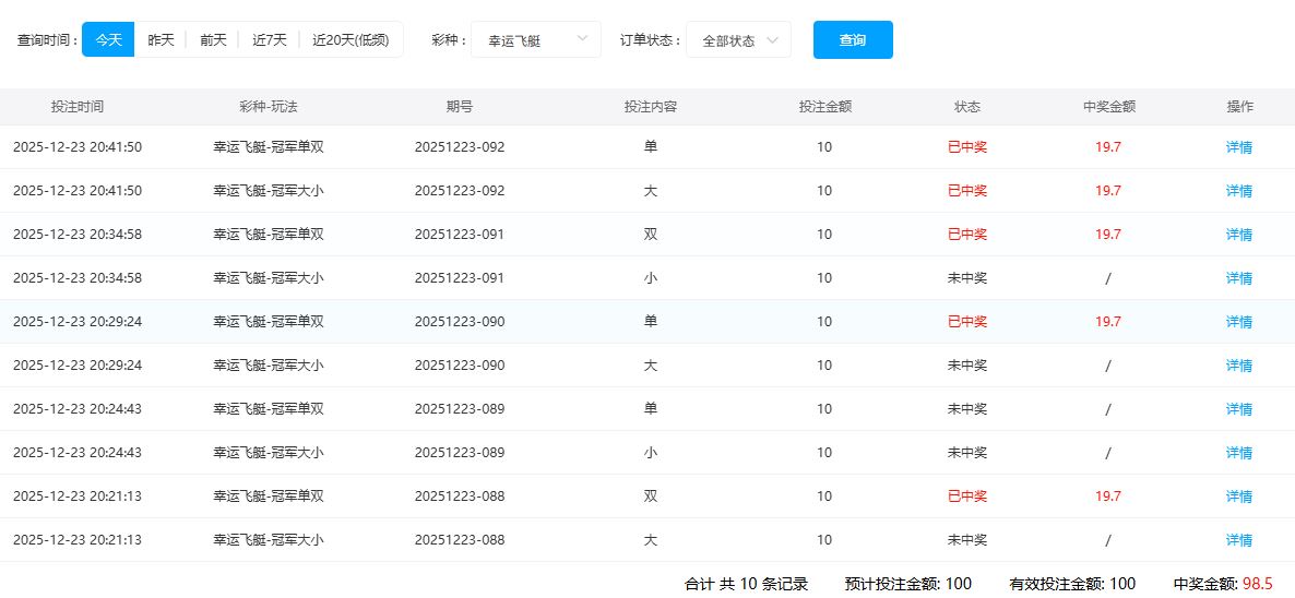
       今天去了腾博会玩了一下彩票。这个运气还是一般的了。按照自己的想法去打,结果并没有什么好的啊也没有什么差的了啊。所以,最终10手中了5手,折损了抽水的钱,还是遗憾的啊。, R. Y7 z8 t) k$ |1 g# _& P
     第一期我下注了大和双了。每个下注10元了。我这么下,还是因为大小的路子重复的多,容易开出长龙了。结果还是一般的了。大是没有出来的了。双是有出来的啊。我的投注也是1黑1红的一个结果。也就是没有输赢啊。
" K* \8 j" d2 t! k# g      第2期呢,我去买了小和单了。各下注了10元了。然后结果开了出来,却是大双的啊。那么就是2黑了的。我的20大洋也是输了出去了啊,也是很遗憾的啊 。
5 f9 c2 |/ r3 q  O+ @; _9 o# V$ k% Y     第3期呢,就是去买了大和单的啊。每个下注了10大洋了。等到结果出来,竟然是一个小单了啊,来了一个1红1黑了啊。还是一个可以接受的结果了。我的第3期投注就没有输了啊。但是3期下来,我还是输了20的啊。
2 T( |, T0 R- |8 a) Q( U& ]/ [     第4期,我去买了小和双了。一共下注了20大洋。结果出来,这次是一红一黑的的一个结果。出了大双的啊。我没有输的啊,也没有赢的啊,但是总体还是输了20的啊。/ G- v7 H/ Z' e- p$ ?2 K
     第5期,我买的是大和单了。还是20大洋下去了。结果出来,竟然还是2红 的一个结果。嗯,这个结果也是真不错的啊。这样我就把之前输的20又赢回来了啊。总体下来,10手就是中了5手了。我的盈利是没有的。再加上了抽水,我还有1.5的负盈利。但是也是没啥了啊。我从输钱,到最后扳本,感觉还是很幸运的啊。。7 U1 Y/ \6 }7 ]" |4 @
1.JPG
& q& S" t. O0 |7 ~1 z
3 X' D; y! s$ G" d
回复

使用道具 举报

6

主题

7761

回帖

4017

金币

金牌会员

积分
31538

老会员

发表于 2025-12-23 21:03 | 显示全部楼层
只是输了一点水钱不要紧,只要是没有输大就可以接受了
回复 支持 反对

使用道具 举报

42

主题

6547

回帖

2595

金币

银牌会员

积分
17351

老会员

发表于 2025-12-23 21:32 | 显示全部楼层
这样的运气其实也不算太坏的,亏损不大,调整一下就可以! H% G# j2 ?& f' ~) B; b# @# Q6 ^
回复 支持 反对

使用道具 举报

480

主题

3万

回帖

4665

金币

铂金用户

积分
84327

老会员美女勋章勤奋勋章交易勋章

发表于 2025-12-23 21:39 | 显示全部楼层
输了水钱还是可以接受的,下次多赢一点就可以了
回复 支持 反对

使用道具 举报

625

主题

2万

回帖

3085

金币

铂金用户

积分
72619

老会员

发表于 2025-12-23 22:27 | 显示全部楼层
天空之城 发表于 2025-12-23 21:32& n0 j: ^( ~1 i8 E
这样的运气其实也不算太坏的,亏损不大,调整一下就可以

; m" `9 C$ k. c+ i; m- K5 {损失不是很多,都是关系不大, ,一拿回阿里了的啊
回复 支持 反对

使用道具 举报

625

主题

2万

回帖

3085

金币

铂金用户

积分
72619

老会员

发表于 2025-12-23 22:27 | 显示全部楼层
初秋2323a 发表于 2025-12-23 21:39
2 f2 L( y( l1 [, O- u2 I; t8 N  a5 d输了水钱还是可以接受的,下次多赢一点就可以了
5 ]9 N/ D/ Z1 G* m( F5 O
盈利了那么一点,真的是太给力,太舒服结果了的啊
回复 支持 反对

使用道具 举报

625

主题

2万

回帖

3085

金币

铂金用户

积分
72619

老会员

发表于 2025-12-23 22:28 | 显示全部楼层
损失了这个结果,也是他不爱多,真心不用担心的太多了的啊
回复 支持 反对

使用道具 举报

2659

主题

5万

回帖

2382

金币

钻石用户

积分
170383

万时之王老会员精华勋章勤奋勋章交易勋章

发表于 2025-12-23 22:42 来自手机 | 显示全部楼层
楼主今天玩彩票运气一般,小亏了点水钱,这个结果还可以接受的
回复 支持 反对

使用道具 举报

2659

主题

5万

回帖

2382

金币

钻石用户

积分
170383

万时之王老会员精华勋章勤奋勋章交易勋章

发表于 2025-12-23 22:42 来自手机 | 显示全部楼层
laowanba 发表于 2025-12-23 22:27! ~6 b* x! O" N& {) G/ |) ?' \. K
损失不是很多,都是关系不大, ,一拿回阿里了的啊
. N5 ], H/ u8 t0 l$ l2 [
只是亏损了点水钱,亏损不大,没有太大影响,希望下次多收米了
回复 支持 反对

使用道具 举报

2659

主题

5万

回帖

2382

金币

钻石用户

积分
170383

万时之王老会员精华勋章勤奋勋章交易勋章

发表于 2025-12-23 22:43 来自手机 | 显示全部楼层
初秋2323a 发表于 2025-12-23 21:39
$ l. p* E- a/ Q( B: n' u; L输了水钱还是可以接受的,下次多赢一点就可以了
* O; d9 g8 n) ]% ~
这个亏损可以忽略不计的了,明天运气好就可以轻松赢回来的,加油
回复 支持 反对

使用道具 举报

2547

主题

8万

回帖

2994

金币

海燕硕士

积分
226942

老会员超级精华精华勋章美女勋章勤奋勋章交易勋章万时之王

发表于 2025-12-24 07:31 | 显示全部楼层
输一点水钱也是无所谓的每天玩游戏并不想看到亏损的呀
回复 支持 反对

使用道具 举报

2547

主题

8万

回帖

2994

金币

海燕硕士

积分
226942

老会员超级精华精华勋章美女勋章勤奋勋章交易勋章万时之王

发表于 2025-12-24 07:31 | 显示全部楼层
浴火凤凰 发表于 2025-12-23 22:43( ]2 L% w0 ~2 H/ J& O$ K
这个亏损可以忽略不计的了,明天运气好就可以轻松赢回来的,加油

* d2 J( p; o0 X- s% u+ B1 i6 B想的太多也没有意义,反正输钱都是自己的原因呀
回复 支持 反对

使用道具 举报

2547

主题

8万

回帖

2994

金币

海燕硕士

积分
226942

老会员超级精华精华勋章美女勋章勤奋勋章交易勋章万时之王

发表于 2025-12-24 07:31 | 显示全部楼层
laowanba 发表于 2025-12-23 22:27; X8 R  P0 x4 k# {4 }" W& @1 X
损失不是很多,都是关系不大, ,一拿回阿里了的啊
% w7 A: D9 ], i! z& `) U: M
损失这个东西也是怪自己玩的不好,就是容易输钱
回复 支持 反对

使用道具 举报

8

主题

1万

回帖

5181

金币

千足金牌会员

积分
59090

老会员光影行者

发表于 2025-12-24 08:33 | 显示全部楼层
这五期下来输赢交替,最后只亏了水钱,运气确实不算太差,可惜中间两期失误有点可惜
回复 支持 反对

使用道具 举报

63

主题

4万

回帖

2275

金币

钻石用户

积分
127117

万时之王老会员勤奋勋章交易勋章光影行者

发表于 2025-12-24 08:34 | 显示全部楼层
输了水钱,也是无所谓了, 这个也是不纠结的了,随意就好了,淡定吧, 这个 !
回复 支持 反对

使用道具 举报

您需要登录后才可以回帖 登录 | 立即注册

本版积分规则

广告合作|福利汇|论坛简介|钱包教程|手机版|小黑屋|Archiver|海燕论坛

快速回复 返回顶部 返回列表