找回密码
 立即注册
澳门威尼斯人
U8
U18
海燕招商
A
蓝盾
e世博
islot.
申博亚洲
澳门银河
B
腾博会
德信
C级广告商
吉祥坊
查看: 2534|回复: 89

[彩票] 比特彩票走势不定艰难收904元

[复制链接]

77

主题

2788

回帖

766

金币

铜牌用户

积分
8661

老会员

发表于 2026-2-28 19:42 | 显示全部楼层 |阅读模式

马上注册,结交更多好友,享用更多功能,让你轻松玩转社区。

您需要 登录 才可以下载或查看,没有账号?立即注册

×
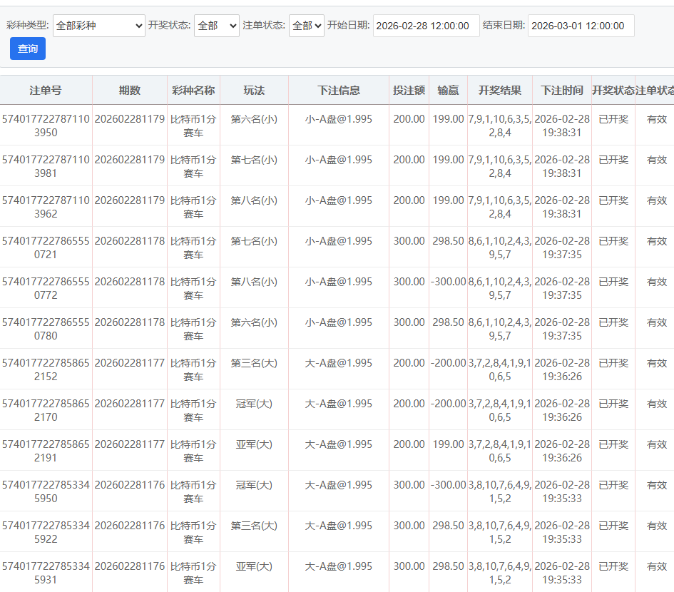
晚上继续着 70-150-200-300-500的战略彩票下注 三定位两面玩法,输了一直往上推到500赢后则从赢时的注码往下推到最低70的位置,投注9000多才收904元;$ ~' Y" x# O7 m/ M

! }/ Q. n, G  G9 K; c' o
3 C5 ^5 b# n* C5 G2 |! l: f 2.png 3.png 1.png
( W) z* k5 [6 W0 ^

评分

参与人数 1金币 +8 收起 理由
海燕RG + 8 实战分享

查看全部评分

回复

使用道具 举报

3471

主题

2万

回帖

1万

金币

版主

积分
94282

优秀版主老会员版主勋章超级精华

发表于 2026-2-28 19:50 | 显示全部楼层
主要还是要看胜率,否则很难扛得住了
回复 支持 反对

使用道具 举报

228

主题

1万

回帖

3469

金币

千足金牌会员

积分
47605

老会员

发表于 2026-2-28 20:13 | 显示全部楼层
这次幸运的,下次就得要再稳点才行呀
回复 支持 反对

使用道具 举报

1459

主题

1万

回帖

7960

金币

千足金牌会员

积分
47012

老会员财富勋章精华勋章交易勋章热心会员魅力达人

发表于 2026-2-28 20:29 | 显示全部楼层
这样的盈利已经很不错了
回复 支持 反对

使用道具 举报

9

主题

2万

回帖

3308

金币

铂金用户

积分
73157

光影行者

发表于 2026-2-28 20:36 | 显示全部楼层
这节奏太折磨人了,推注推到500才回血,9000砸下去就捞900多,心疼钱包
回复 支持 反对

使用道具 举报

9

主题

2万

回帖

3308

金币

铂金用户

积分
73157

光影行者

发表于 2026-2-28 20:36 | 显示全部楼层
笑看人生 发表于 2026-2-28 20:292 Z3 |3 x: S6 M/ `3 E+ h
这样的盈利已经很不错了
  x, f% a" @3 S6 |* O' v; {3 {
能稳住900+已经算硬核了,这走势能抠出来真不容易
回复 支持 反对

使用道具 举报

9

主题

2万

回帖

3308

金币

铂金用户

积分
73157

光影行者

发表于 2026-2-28 20:36 | 显示全部楼层
hy188820 发表于 2026-2-28 20:13% k: \; V) q9 b- ^
这次幸运的,下次就得要再稳点才行呀

3 S: N7 i$ R5 d走势飘忽确实难搞,稳着来才能细水长流,下次别急着冲
回复 支持 反对

使用道具 举报

619

主题

1万

回帖

2434

金币

金牌会员

积分
35514

老会员

发表于 2026-2-28 23:27 | 显示全部楼层
如此丰厚的回报令人赞叹,这是楼主的实力
回复 支持 反对

使用道具 举报

619

主题

1万

回帖

2434

金币

金牌会员

积分
35514

老会员

发表于 2026-2-28 23:28 | 显示全部楼层
蔬菜沙拉 发表于 2026-2-28 20:36. C. W5 ?8 a% i6 H5 j2 E0 ~
走势飘忽确实难搞,稳着来才能细水长流,下次别急着冲

2 W; G8 \+ M* }! c2 U2 A$ G) ^6 D1 `$ Z& B# G. h9 `
能长期保持盈利状态就实属难得
回复 支持 反对

使用道具 举报

5

主题

1万

回帖

2432

金币

金牌会员

积分
38283
发表于 2026-3-1 02:25 | 显示全部楼层
这推注玩法投九千多才收九百出头,走势不定真够磨人的,这收益和投入比看着也挺闹心
回复 支持 反对

使用道具 举报

5

主题

1万

回帖

2432

金币

金牌会员

积分
38283
发表于 2026-3-1 02:26 | 显示全部楼层
一路前行 发表于 2026-2-28 23:28
7 v' f2 F7 r- [; k0 A2 V% p能长期保持盈利状态就实属难得
3 w5 I& o3 z$ [; c1 E0 E
走势那么飘能长期稳着赚真不容易,这次收904也算是熬过来了,别贪稳着来就好
回复 支持 反对

使用道具 举报

1629

主题

8万

回帖

2万

金币

海燕硕士

积分
258959

万时之王老会员精华勋章勤奋勋章交易勋章光影行者

发表于 2026-3-1 05:37 | 显示全部楼层
可以赢这么多钱也是非常厉害的了。
回复 支持 1 反对 0

使用道具 举报

1629

主题

8万

回帖

2万

金币

海燕硕士

积分
258959

万时之王老会员精华勋章勤奋勋章交易勋章光影行者

发表于 2026-3-1 05:37 | 显示全部楼层
蔬菜沙拉 发表于 2026-2-28 20:368 M% v% {8 [4 q1 a. a. f' [
走势飘忽确实难搞,稳着来才能细水长流,下次别急着冲

# M! ^. u2 g' }1 `0 g* `; M/ f+ K希望是可以能够保持住这样的好运气吧
回复 支持 反对

使用道具 举报

1629

主题

8万

回帖

2万

金币

海燕硕士

积分
258959

万时之王老会员精华勋章勤奋勋章交易勋章光影行者

发表于 2026-3-1 05:37 | 显示全部楼层
一路前行 发表于 2026-2-28 23:27% K8 o% l8 L' @, z
如此丰厚的回报令人赞叹,这是楼主的实力

' L* I, e: f# e$ |" c1 _楼主确实是非常有实力的玩家了呢。
回复 支持 反对

使用道具 举报

1629

主题

8万

回帖

2万

金币

海燕硕士

积分
258959

万时之王老会员精华勋章勤奋勋章交易勋章光影行者

发表于 2026-3-1 05:37 | 显示全部楼层
一路前行 发表于 2026-2-28 23:28
1 _( t% f9 T& d, m5 n- h5 S9 ^能长期保持盈利状态就实属难得
( X! {( Q9 [9 a9 ]
这个确实是非常难得的事情了呢。
回复 支持 反对

使用道具 举报

您需要登录后才可以回帖 登录 | 立即注册

本版积分规则

广告合作|福利汇|论坛简介|钱包教程|手机版|小黑屋|Archiver|海燕论坛

快速回复 返回顶部 返回列表